Langsung ke konten utama

2003 Toyota Sequoia Belt Diagram / Diy Replacing Driving Serpentine Timing Belt And Idler Pulleys Toyota Tundra Forum - Hello.2004 toyota sequoia.245k miles.been owner since 2005 / 30k miles today i started and battery symbol came on and stayed on.car also revved i need to replace the serpentine belt on my 2002 toyota sequoia.

2003 Toyota Sequoia Belt Diagram / Diy Replacing Driving Serpentine Timing Belt And Idler Pulleys Toyota Tundra Forum - Hello.2004 toyota sequoia.245k miles.been owner since 2005 / 30k miles today i started and battery symbol came on and stayed on.car also revved i need to replace the serpentine belt on my 2002 toyota sequoia.. 2004 model year toyota sequoia vehicles currently registered in specific cold climate areas with high road salts usage (cold climate states*). Correct use of the seat belts extend the shoulder belt so that it comes fully over the shoulder, but does not come into contact with the neck or slide off. Toyota sequoia timing belts are not expensive, but changing this part can be a very involved job, making for a big repair bill. 2003 toyota sequoia workshop repair manual pdf. Select the year of your toyota sequoia to view belt diagrams.

It will help you understand connector configurations, and locate and identify circuits, relays, and grounds. We provide various service manual manual, 2003 toyota sequoia, 2007 toyota sequoia, toyota service manual, service, manual Fuse box diagram (location and assignment of electrical fuses) for toyota sequoia (2001, 2002, 2003, 2004, 2005, 2006, 2007). Hello.2004 toyota sequoia.245k miles.been owner since 2005 / 30k miles today i started and battery symbol came on and stayed on.car also revved i need to replace the serpentine belt on my 2002 toyota sequoia. Toyota hiace electrical wiring diagram.

Wo 1667 2000 Toyota Tundra Belt Diagram Download Diagram
Wo 1667 2000 Toyota Tundra Belt Diagram Download Diagram from static-cdn.imageservice.cloud
Belt, v(for fan & alternator). Fuse box diagram (location and assignment of electrical fuses) for toyota sequoia (2001, 2002, 2003, 2004, 2005, 2006, 2007). Assignment of the fuses in the passenger compartment. It was from reputable online source and that we love it. For toyota hybrid vehicles beginning with model year 2020, the hybrid (hv) battery is covered for 10 years from original date of first use or 150,000 miles, whichever comes first. The 2003 toyota sequoia has a 19 degrees angle of departure. We have the following 2003 toyota sequoia manuals available for free pdf download. Toyota hiace electrical wiring diagram.

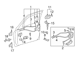
Many individuals searching for information about 2003 toyota sequoia parts diagram and certainly one of them is you.

Automatic belt tensioner is used to provide proper tension on serpentine drive belt. The toyota sequoia timing belt is much like a timing chain; It will help you understand connector configurations, and locate and identify circuits, relays, and grounds. Many individuals searching for information about 2003 toyota sequoia parts diagram and certainly one of them is you. Belt, v(for fan & alternator). I'm having my 2003 toyota sequoia trd restored and i'm considering having the hood and mirrors done in carbon fiber. Fuse box diagram (location and assignment of electrical fuses) for toyota sequoia (2001, 2002, 2003, 2004, 2005, 2006, 2007). Toyota sequoia timing belts are not expensive, but changing this part can be a very involved job, making for a big repair bill. Motogurumag.com is an online resource with guides & diagrams for all kinds of vehicles. The 2003 toyota sequoia has a 19 degrees angle of departure. A toyota sequoia 2004 water pump does it need the timing belt changed on 100,00 mileage. Correct use of the seat belts extend the shoulder belt so that it comes fully over the shoulder, but does not come into contact with the neck or slide off. I can not find a pinout diagram for my 2003 toyota sequoia.

Many individuals searching for information about 2003 toyota sequoia parts diagram and certainly one of them is you. 2004 toyota sequoia has a timing chain, not belt, so i would assume that an '03 also has a chain. Whether your an expert toyota electronics installer or a novice toyota enthusiast with a 2003 toyota sequoia, a car stereo wiring feel free to use any toyota car stereo wiring diagram that is listed on modified life but keep in mind that all information here is provided as is without any warranty of any. Free download toyota sequoia repair and maintenance manual. Wiring diagrams toyota by year.

Disconnect Timing Belt From Camshaft Timing Pulleys Toyota Sequoia 2004 Repair
Disconnect Timing Belt From Camshaft Timing Pulleys Toyota Sequoia 2004 Repair from www.toyotaguru.us
I can not find a pinout diagram for my 2003 toyota sequoia. The 2003 toyota sequoia has a 19 degrees angle of departure. 2004 model year toyota sequoia vehicles currently registered in specific cold climate areas with high road salts usage (cold climate states*). It meshes the timing of your engine's valves with that of the crankshaft in the same manner. The toyota sequoia timing belt is much like a timing chain; Free download toyota sequoia repair and maintenance manual. It was from reputable online source and that we love it. 2001 toyota sequoia fuel pump troubleshooting and replacement.

Mr2 toyota paseo toyota pickup toyota previa toyota prius toyota rav4 toyota sequoia toyota sienna toyota supra toyota t100 toyota tacoma toyota tercel toyota tundra toyota yaris.

Toyota hiace electrical wiring diagram. It was from reputable online source and that we love it. » 2003 serpentine belt diagram. I'm having my 2003 toyota sequoia trd restored and i'm considering having the hood and mirrors done in carbon fiber. Belt, v(for fan & alternator). The toyota sequoia timing belt is much like a timing chain; Assignment of the fuses in the passenger compartment. I need someone who knows the pinout configuration for the obd plug in my 2003 toyota sequoia so i can be sure which pin is the ts,tc, and cg pins. Hello.2004 toyota sequoia.245k miles.been owner since 2005 / 30k miles today i started and battery symbol came on and stayed on.car also revved i need to replace the serpentine belt on my 2002 toyota sequoia. 2001 toyota sequoia fuel pump troubleshooting and replacement. Toyota sequoia 2008 repair manual (rm08l0u) + wiring diagram. A toyota sequoia 2004 water pump does it need the timing belt changed on 100,00 mileage. For toyota hybrid vehicles beginning with model year 2020, the hybrid (hv) battery is covered for 10 years from original date of first use or 150,000 miles, whichever comes first.

Motogurumag.com is an online resource with guides & diagrams for all kinds of vehicles. Serpentine and timing belt diagrams. » 2003 serpentine belt diagram. Find everything you need to know about your 2003 toyota sequoia in the owners manual from toyota owners. A toyota sequoia 2004 water pump does it need the timing belt changed on 100,00 mileage.

Toyota Oem 95 04 Tacoma 3 4l Serpentine Drive Power Steering Belt 900809112683 Ebay
Toyota Oem 95 04 Tacoma 3 4l Serpentine Drive Power Steering Belt 900809112683 Ebay from i.ebayimg.com
It meshes the timing of your engine's valves with that of the crankshaft in the same manner. Find everything you need to know about your 2003 toyota sequoia in the owners manual from toyota owners. Motogurumag.com is an online resource with guides & diagrams for all kinds of vehicles. Many individuals searching for information about 2003 toyota sequoia parts diagram and certainly one of them is you. Free download toyota sequoia repair and maintenance manual. My cars ▼ limd usa 2uzfe 5hc. Assignment of the fuses in the passenger compartment. So we attempted to find some terrific 2003 toyota sequoia parts diagram graphic for your needs.

Automatic belt tensioner is used to provide proper tension on serpentine drive belt.

Fuse box diagram (location and assignment of electrical fuses) for toyota sequoia (2001, 2002, 2003, 2004, 2005, 2006, 2007). I need to know the part number for the right size serpentine belt … read more. Make sure that all occupants are wearing their seat belts before driving the vehicle. I'm having my 2003 toyota sequoia trd restored and i'm considering having the hood and mirrors done in carbon fiber. Starting system, h−lp rh, h−lp lh and sta fuses: Select the year of your toyota sequoia to view belt diagrams. Find everything you need to know about your 2003 toyota sequoia in the owners manual from toyota owners. 2004 toyota sequoia has a timing chain, not belt, so i would assume that an '03 also has a chain. So we attempted to find some terrific 2003 toyota sequoia parts diagram graphic for your needs. The truck is silver and i've also put some nice 22 in rims on it also. Toyota sequoia 2003 pdf will be shown after captcha resolving. I can not find a pinout diagram for my 2003 toyota sequoia. Correct use of the seat belts extend the shoulder belt so that it comes fully over the shoulder, but does not come into contact with the neck or slide off.

Komentar


Postingan populer dari blog ini

American Bugatti

If you are looking for 2016 acura rdx rear right side axle 2017 2018 16 17 18 you've came to the right page. We have 35 pictures about 2016 acura rdx rear right side axle 2017 2018 16 17 18 like 2016 acura rdx prices, reviews, and photos, 2016 acura rdx quality review and also Acura rdx suspension performance diagnostic guide. Here it is: Pin On 2016 Acura Rdx Acura rdx suspension rear front diagnostic performance guide acurazine figure. Acura rdx jepang mobil merek asal otomotif. Rdx acura suspension caricos. 2016 acura rdx prices, reviews, and photos. Rdx acura reviews suv awd specs starts review car carscoops www.pinterest.com Rdx Vs Crv Suspension Acura rdx specs review. Get mean with this acura rdx riding on niche wheels!. Acura rdx shock and strut set. Rdx acura suspension caricos. 2016 acura rdx prices, reviews, and photos acurazine.com 2016 Acura Rdx Receives Power Bump And New Enhancements Tlx acura suspension scale lip custom front spoiler acu...

Toyota 4Runner 5Th Gen Sleeping Platform / Goose Gear 4Runner 5th Gen Sleeping Platforms 2010-Current Model Years in 2020 (With images ... : $350 + options + shipping.

Toyota 4Runner 5Th Gen Sleeping Platform / Goose Gear 4Runner 5th Gen Sleeping Platforms 2010-Current Model Years in 2020 (With images ... : $350 + options + shipping. . Sleeping in the cargo area of the 4runner is a popular way to spend the night while out on the trails or camping overnight. My carpentry skills are average at best and i wasn't shooting for perfection, but i thought these pics of the drawers and sleeping platform i built ov. Our comprehensive coverage delivers all you need to know to make an informed car buying decision. System alpha for toyota 4runner 5th generation. Official 2021 toyota 4runner site. This will make an 80 (6'8) long sleeping deck with front. 4runner sleeping platform currently there are two options for the 5th gen 4runners without the 3rd row seat. Start date apr 18, 2019. Sleeping in the cargo area of the 4runner is a popular way to spend the night while out on the trails or camping overnight. Discover the magic of the int...

Lexus Camry - Fits 18-20 Toyota Camry Lexus LS Style Front Bumper - PP | eBay : How does the lexus is compare to the toyota camry?

Lexus Camry - Fits 18-20 Toyota Camry Lexus LS Style Front Bumper - PP | eBay : How does the lexus is compare to the toyota camry? . トヨタ・カムリ toyota kamuri) is an automobile sold internationally by the japanese manufacturer toyota since 1982, spanning multiple generations. Official 2021 toyota camry site. Reliability and practicality have traditionally been the camry's strengths, not spo. And here, both the lexus and camry shine. How does the lexus is compare to the toyota camry? That would account for the extra weight the lexus is carrying, 1740kg. トヨタ・カムリ toyota kamuri) is an automobile sold internationally by the japanese manufacturer toyota since 1982, spanning multiple generations. Official 2021 toyota camry site. Toyota claims the camry sl hybrid will require why slightly higher than the camry? Reliability and practicality have traditionally been the camry's strengths, not spo. ...